我们都知道直通车是最直接的推广方式也是最费钱的,每个人都想做好的自己的直通车,把握好花费,直通车每天都亏钱我们应该怎么办呢?3招教你解决!
说到推广不亏钱,很多人就觉得可能吗?
今天天猫代运营就带着大家实操一下,教大家怎么做到推广时候不亏钱,或者说比原来的推广情况好很多,有很大的改善。首先我们要想推广不亏钱,那么肯定不能盈利小于投入进去的费用,也就是说投产比不能太低!

那么怎样看你的投产比做到多少才是不亏钱?
投产比盈亏平衡值计算=1/你的利润率比如我的利润率是25%,那我的投产比就是4,,做不到4我就是亏本的。
这时候我就应该去调整我的直通车了,当然我们不是说你一调整就能马上赚,但是你去把它调的更好,肯定是可以少亏一点,让你的推广更好一点的。
原来0.5的投产比我们往0.8调,原来0.8的我们往1.5调,调着调着你就发现你开始赚了。
我在大家的直通车后台看得特别多,同学们的大致情况我还算了解的,有一部分同学出现的情况就是投产比1比零点几,这就是亏的蛮厉害的,还有些投产比1:1的,这就基本上相当于免费白送了。
那么我们如何快速提升这个投产比呢?
首先要提升投产比,我们要搞清楚投产比的相关因素是什么。
投产比=成交/花费。
天猫代运营希望通过这个公式让大家可以看出来,我们要想提高投产比,要么就增加成交,要么就降低花费!
大家觉得哪个比较好调整呢?经过大量的实操看来,相对来说【花费】更加好调整一点。
因为如果要加大成交量,流量、转化率、客单价你都得调,这个在短时间内是调整不了的,而且调整流量又要加大花费,那你投产比还是上不去!
但如果我们调整花费,把那些没转化的关键词删掉,或者降低出价,虽然会减少一部分流量但是我还可以去做多一点关键词呀!

说到花费,既然是推广,钱肯定要花在对的地方。而不是一味的我删词、降低出价,这对你来说并没有好处!
天猫代运营要说的目的是在投产比调的更好的情况下,对自然流量没影响!
什么叫做对的地方?
1.对的产品
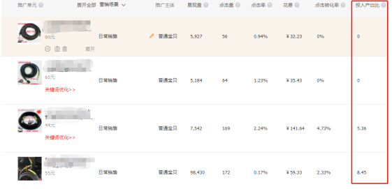
我们看下面这几个宝贝,如果是你来操作,你会选择哪一个宝贝加大推广。
肯定选择投产比高的宝贝,这个宝贝投产好,流量增加,销量就会上来,免费流量也会上来一些!
这里天猫代运营相信有同学可能会问,为什么不看转化率?
因为转化率跟出价有关系!出价高可能会让你的投产比变低。
你们看这个投产8.45的宝贝,相当于花了50多块钱,成交了500多块的金额,而投产比5.36的宝贝,相当于花了141块钱,成交了759块,成交相差不多,但是花费却高出2-3倍!
所以我们在有数据之后,重点看投产比!

2.对的词。
不管我们的推广做成什么样子,总有几个关键词是赚钱的。
那么首先第一步,我们把这些成交比较好的关键词给它们加价,拓展它们的流量,成交会加的更多,投产比这时候会加的更多。
我们看这几个推广关键词,投产比,高于2的,赚钱,那我们给它加价,低于2的,有点亏我们给它降价。
一定要有加有减,因为我们的目的是在同样的花费下让你赚更多!然后提升免费流量!
不能说直接不推了,因为你在只减不加的情况下,可能会造成免费流量下降!
你本来是通过那些词推广成交的这些笔数就没有了。
有些同学很犹豫点击率高的词但是没转化的词要不要继续做。
这里给大家说一下,点击率高的词不一定好!因为它受平台、渠道、人群的影响!
点击率我们要尽量做高它,但不是说点击率高就一定是好。核心数据还是看投产!

这里需要注意看数据的时间,一般来说转化时间我们看15天累计的,其他的数据建议大家尽可能选择长时间的数据,你调整的很频繁至少要看1个月的数据,如果你调整频次太高,数据会被打乱!这时你其实看不到在哪个数据的表现下最好,所以要想数据相对精准,时间线就得拉长!

3.多久调整一次、价格升降多少?
如果花费不大,就不要太频繁的去调整,一段时间调整得稳定了,就长时间去看数据。
这里给出大家一个标准:花费在3000以上的,可以一周调一次,3000以下则两周调一次。
至于出价的升降,不要看着某个词投产比高,你直接给它翻5倍!这样做有可能会亏!
有一些数据样本比较小,你稍微加一点价给它多一点流量就好!10%的上下浮动即可!
天猫代运营:http://www.yiyaweb.com/list_tianmao.html
贯穿电商运营的各种
资源渠道一应俱全
一站式电商服务的平台
全方位为店铺保驾护航
行业领先团队
创造专业价值
数家分部
专注行业多年
Copyright © 2022 青岛易亚网络管理服务有限公司 备案号:鲁ICP备10207421号-2 地区站点
网站地图